“顶级富婆”跑路:租豪车、戴名表,骗走网红明星3亿?
顶级富婆涉嫌诈骗跑路,曾租用豪车、佩戴名表炫耀财富,据悉,她骗走了多名网红明星共计3亿的资金,相关人士正在调查此案,涉案人员及金额尚未确定,这一事件引起了社会各界的广泛关注,提醒人们要警惕类似骗局,保护自身财产安全。
一个叫“多肉饱饱”的网红,伪装“顶级富婆”,还自称是游泳冠军覃海洋的未婚妻,向多人借钱。如今,她以“重病”为由失联跑路,留下了一地鸡毛。这场横跨网红圈、体育圈的魔幻大戏,到底是怎么回事?
文丨麻辣财经特约作者:清炫
· ··
网红圈又炸了个大雷。
一个叫“多肉饱饱”的网红,伪装“顶级富婆”,还自称是游泳冠军覃海洋的未婚妻,向多人借钱,被骗的不仅有头部博主,还有说唱歌手Capper等圈内明星。
“多肉饱饱”真名孙悦童,曾用网名“幸福烤冷面摊主”。2024年,她以一己之力,将覃海洋锤成“出轨渣男”。
随后,她便用“奥运冠军女友”“顶级富婆”的身份行骗。
为了打造富婆人设,她总是一身奢侈大牌,并自称是投资人,时常不经意展示账户里9000多万的余额,喜提“1亿姐”称号。
在这场骗局里,她以五花八门的理由借钱,但迟迟还不上钱。更魔幻的是,她用来抵债的手表、豪车、房产证,几乎全是假的。
据统计,涉案金额可能高达3个亿。
如今,她以“重病”为由失联跑路,留下了一地鸡毛。这场横跨网红圈、体育圈的魔幻大戏,到底是怎么回事?
1./ “1亿富姐”的诞生:一场长达3年的骗局/
据目前统计,被她骗的人有上百人,累计金额或高达3亿元。
而这一场骗局,孙悦童早已精心布局多年。
故事要从2021年底说起。受害人超先生(化名)第一次见到孙悦童,是在杭州一家夜店的朋友局上。
当时朋友介绍说,孙悦童是个投资人,她自己也顺势接话,称这家夜店她就投了100万。那时的孙悦童穿着一身名牌,举手投足间都展现出一副“富婆”的气场,很快就融入了他们的社交圈。
为了让“富二代”人设站住脚,孙悦童时不时就露富。超先生回忆,有一次吃饭,孙悦童给别人转完帐后,主动把手机亮给他看,上面显示转完钱的余额还剩9000多万。她当时还云淡风轻地说:“别人都叫我1亿姐。”
在日常中,她不断强化自己的人设,而在覃海洋出名后,愈发频繁地暗示自己是其“未婚妻”。
在长达两年的精心铺垫后,孙悦童开始以“账户被冻结”“帮忙解封主播”“签约费周转”等各种借口,向超先生借钱。
她甚至还拉着超先生一起开公司,让他用一个价值百万的摄影场地入股。超先生为此停掉了自己的摄影业务,全身心投入,结果让自己陷得更深,也更难拒绝她的借款要求。
而最荒诞的,莫过于“送假表事件”。超先生说,孙悦童给覃海洋送了块假表后,转头就跟朋友们炫耀,说是覃海洋又给她买了包、转了钱让她自己买礼物。不仅如此,她后来又把这块假表当成真表,抵押给了另一个朋友去借钱。
如今,超先生借给孙悦童大约120万,为她担保借款230万,自己的场地也被公司占用。但受害者远不止他一个。现在,超先生所在的群,已经有80多个人了,群里被骗的钱加起来,超过一个亿。
另据范女士爆料说,2024年10月,孙悦童跟她哭穷,借了400多万,还抵押了12块手表和一辆帕拉梅拉。结果,孙悦童根本就是“以贷养贷”,借条倒是写了,可就还了点零头,那12块表还是假的。
▲“饭饭”部分转账记录
抖音博主“饭饭”也爆料说,自己也被孙悦童坑了。孙悦童说公司要补税,管她借了500万。虽然还了一部分,但还有几百万没还呢。
当时,孙悦童为了让她放心,还把自己的名表豪车都抵押了,说十几天就还钱。结果呢?从今年4月开始,就人间蒸发了。
如今,孙悦童以“重病”为由失联跑路了。超先生对拿回钱也不抱希望了,只希望她能被抓进去,别再出来祸害人了。
2./ “手撕”前男友出圈,疯狂涨粉变现?/
号称“1亿姐”的孙悦童,到底有多少资产呢?
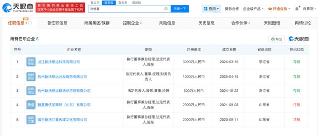
天眼查显示,孙悦童名下关联5家公司,注册资本在500万元到3000万元不等。但有2家已经注销了,现在只有3家为存续状态。
值得注意的是,今年5月注销的一家公司,名叫“烟台新扬立童传媒文化有限公司”,孙悦童持有50%股权,覃海洋持有10%股权。综合网上信息来看,覃海洋是孙悦童的前男友。
事实上,孙悦童上一次出圈,正是“手撕”游泳冠军覃海洋。
2024年,孙悦童以一己之力,将覃海洋锤成“出轨渣男”,随后开始了她的网红圈钱之路。
当时,覃海洋刚在巴黎奥运会夺冠后,孙悦童使用账号“幸福烤冷面摊主”发文曝覃海洋出轨等行为。
▲“多肉饱饱”2024年发文
随后,覃海洋工作室发声明回应:不实言论,必要时会报案。
覃海洋工作室发布声明后,孙悦童公布了与覃海洋聊天的录音,并配文称:“很多,够吗?涉及到他人真的不好意思了。”
录音中,覃海洋在两人的对话中承认了自己出轨。
而这次“手撕渣男”事件,让孙悦童的帐号粉丝暴涨。眼看有了变现的价值,孙悦童马上就开始筹备直播带货 。
事实上,孙悦童早就深谙粉丝变现之道了。
网上曾热传,她给覃海洋颁奖的画面,当时她号称是“某地产投资人”。现在回想起来,就是一场精心策划的炒作。
有被骗者透露,那次赛事的赞助商根本不是孙悦童,而是一家杭州的房企,她“某地产投资人”的头衔也是自封的 。事后,相关画面因为给房企造成了不良影响,还被品牌方联系下架了。
但是,孙悦童的目的达到了。她立马安排人采访自己,一波操作猛如虎,账号粉丝蹭蹭涨到35万。
更绝的是,她揭发覃海洋之后,就开始卖惨。哭诉自己被覃海洋报复,资金链断了,博取粉丝同情,然后忽悠粉丝给她投资,说是要东山再起。而覃海洋也成了她用来包装自己、获取流量、甚至进行诈骗的“工具人”。
据网友爆料,孙悦童还曾用公司骗了品牌方,现在品牌方起诉公司,他作为相关方被申请资产保全,面临800多万的诉讼金额。
而根据天眼查,孙悦童持股52%的新扬意远公司,被执行1660多万。新扬意远涉及的服务合同纠纷案件,还牵扯到无忧传媒、无忧艺人经纪。
从2025年6月18日开始,各地派出所接到一堆报案,都说被她骗了。目前,事件仍在调查中。孙悦童自己也怂了,所有社交账号都设为私密了。
3./ 假名媛的“韭菜局”,专割有钱的朋友/
事实上,孙悦童的套路并非孤例。这些年,网红圈的假富婆层出不穷,剧本都出奇地相似。
前两年,上海有个网红名媛叫Naomi,日常就是在社交平台炫富,她身穿香奈儿,手提爱马仕,脖子上戴着梵克雅宝,晒豪车豪宅,打造的人设是“一个在国药上班的名媛”,因为出手阔绰在圈内小有名气。
传闻中,Naomi住在上海的豪宅区——古北壹号,那地方的房价,一平米就得16万起跳,她那套三居室至少200平。算下来,一套房子平均下来要四五千万。更别提她名下的其他房产,汤臣、翠湖、杭州的壹号院……听着就让人咂舌。
至于车,差不多有五辆,库里南、F8、魅影、宾利等,不知道她这个开的是哪一辆。
为了更好地伪装自己的名媛人设,她还谎称自己父母双亡。她平时开直播的时候就是炫富,让大家看她的支付账单,仅微信支付2021年就支出约488万,平均一个月40多万。
她最大的爱好就是:花钱,花钱,再花钱。她经常一掷千金,给男主播打榜刷礼物,一刷就是几十万,网友们都以为她是个不折不扣的白富美。
但没想到,她伪造名媛身份是为了在网上诈骗,金额高达1个亿。
网友“蛋挞不要吃脆皮”发文称,Naomi是自己最好的朋友之一,对方向她借了400万,她想都没想就给了。结果没几天,Naomi的前男友找上门来,她才发现自己被骗了。
可真相呢?Naomi根本不是名媛,她是个普通公司的采购员。所谓的富贵生活,全靠诈骗来的钱堆出来的。
她伪造公司公章做采购,私下把供应商的货转卖出去,搞到一个多亿的非法收入,然后把自己包装成一位被富养出来的名媛,混进了上海上流圈子,还钓到了富二代。
她所谓的豪宅豪车,其实全是租的。父母也只是普通人,根本无力偿还这笔巨额债务,而Naomi本人已因诈骗被抓。
事实上,这种靠打造人设上位的假名媛,从不止一个 Naomi。曾经轰动一时的“名媛拼单群”不就是活生生的模板吗?
六个人拼一份双人下午茶,十五个人拼一间酒店房,四十个人拼一次高端SPA,甚至连一条二手丝袜都要拼着穿。
她们披着名媛外衣,踩着别人的信任,一步步攀爬到更高的社交层级。
尤其值得注意的是,在上述网红骗局中,多是熟人作案。
超先生说,他拿孙悦童当最好的朋友,甚至“比亲人还亲”;网友“蛋挞不要吃脆皮”也说,Naomi是自己最好的朋友之一。而他们却转头背叛了这份友情。
不过,靠谎言编织出的精致生活,尽头并不是顶层圈子,而是无尽的铁窗。
大家也要记得要擦亮眼睛啊!
参考资料:
《被骗者揭秘“多肉饱饱”孙悦童骗局,称覃海洋也是被骗者》,齐鲁晚报
《网红“多肉饱饱”被指诈骗,金额或达数亿元!多位网红也上当,受害者:借了500万元,抵押的帕拉梅拉是租的》,每日经济新闻
作者:访客本文地址:https://huii.cc/show/1768.html发布于 2025-07-30 15:05:28
文章转载或复制请以超链接形式并注明出处麻辣财经



还没有评论,来说两句吧...